When you purchase through links on our site, we may earn an affiliate commission. Here's how it works. |
In this patent application (2025-029311), Canon features some rather slow, but very small lenses.
At first, I thought of these as pancakes and then doing something like math, it became obvious that these are much smaller than pancake lenses.
Just a refresher, when total lens length is mentioned that includes the back focus distance to the sensor. So, the 20mm that is between the camera lens mount flange and the sensor is also included.
If you deduct that 20mm, then you see that these lenses are incredibly tiny, but they still project a full image circle for a full frame sensor. Their simplistic design wouldn't lead to a very sharp and detailed image, but they would be very inexpensive lenses.
In these embodiments, I'm going to also calculate in the “actual lens protrusion” which is the distance the lens sticks out from the lens mount. That's a little different when the lens sits back in the mount further than the lens flange.
All these lenses are all F/8.0 lenses and when combined with the focal lengths they have a very deep depth of field. For instance, a 21mm lens at f/8.0 has a depth of field from 3.8 feet to infinity when focused at 10 feet away. I suspect these lenses would have a fixed focus distance, or a rudimentary manual focus.
These lenses have been created by third party lens manufacturers, and even Olympus came out with one for the OM System Micro 43’s system.
The good thing about these lenses is that because the depth of field is so deep, if you simply turn on your camera and snap a picture, invariably, everything is in focus. This would be a perfect lens for the R100, since changing focus and everything but pressing on the shutter button on that camera is quite awkward.
These are fun “point and shoot lenses” and if they double as a camera body cap, all the better.
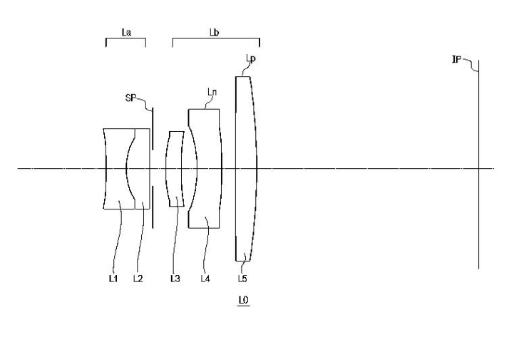
Canon RF 20mm f/8.0 Body Cap Lens

| Focal length | 20.39 |
| F-number | 8.00 |
| Angle of view | 46.70 |
| Image height | 21.64 |
| Total lens length to sensor | 29.41 |
| Actual lens total length | 14.42 |
| Total lens Protrusion | 9.41 |
| Back Focus Distance | 14.99 |
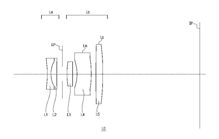
Canon RF 26mm f/8.0 Body Cap Lens

| Focal length | 26.25 |
| F-number | 8.00 |
| Angle of view | 39.49 |
| Image height | 21.64 |
| Total lens length to sensor | 31.98 |
| Actual lens total length | 11.98 |
| Total lens Protrusion | 11.98 |
| Back Focus Distance | 20.42 |
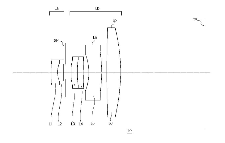
Canon RF 21mm f/8.0 Body Cap Lens

| Focal length | 21.04 |
| F-number | 8.00 |
| Angle of view | 45.80 |
| Image height | 21.64 |
| Total lens length to sensor | 26.85 |
| Actual lens total length | 12.17 |
| Total lens Protrusion | 6.85 |
| Back Focus Distance | 14.68 |
This is a patent application only
As with all patent applications that we discover and write up for you, this is simply a look into Canon’s research. Canon may or may not make these lenses for a variety of reasons that are well beyond our paygrade.
Source: Japan Patent Application 2025-029311




Okay, f/8 is a little bit disapounting, though.
But why not bring those on, Canon?