When you purchase through links on our site, we may earn an affiliate commission. Here's how it works. |
A patent for a new cinema lens optical formula has appeared. It's for a 25-125mm t/2.8.
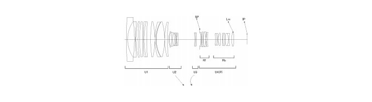
Patent Publication No. 2015-176118 (Google Translated)
- Published 2015.10.5
- Filing date 2014.3.18
- Zoom ratio 5.00
- Focal length 25.00 125.00
- F-number 2.90
- Half angle (in degrees) 29.42 6.44
- Image height 14.10
- Overall length of the lens 446.92
- BF 50.00
Expect to see more Cinema EOS news as we get closer to NAB 2016 in April.


