When you purchase through links on our site, we may earn an affiliate commission. Here's how it works. |
Another patent showing a tilt-shift mount adaptor for the EF mount has appeared.
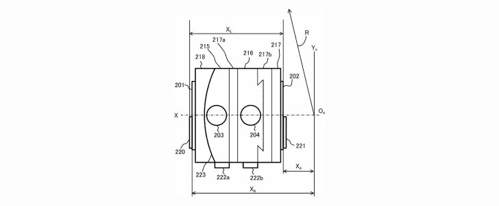
Patent Publication No. 2015-172745 (Google Translated)
- Published 2015.10.1
- Filing date 2014.2.20
- Mount adapter with a tilt
- Tilt and shift
- Lens of long flange back
- Short flange back of the body
- Wide image circle lens
- Narrow of the image circle body
Another patent showing a tilt-shift adaptor for EF lenses appeared back in August.


