Tag: tamron 300 f/2.8

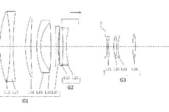
Patent: Tamron 300mm f/2.8, 400mm f/4, 500mm f/4

It looks like Tamron may be entering the world of fast supertelephoto…

Craig Blair