When you purchase through links on our site, we may earn an affiliate commission. Here's how it works. |
Canon released the RF 50mm f1.4L VCM, 24mm f/1.4L VCM, and 35mm f/1.4L VCM, and there have been hints that more is coming.
This patent application (2025-015010) shows the RF 24mm f/1.4L VCM. However, other embodiments may come out in the future. Interestingly, the same overall optical element design was used for the RF 35mm f/1.4L VCM, but it does not appear as an actual embodiment.
This patent application mentions explicitly that they wanted to make the lens with less focus breathing;
To provide an optical system that is compact yet has high optical performance by suppressing aberrations and fluctuations in the angle of view that occur during focusing.
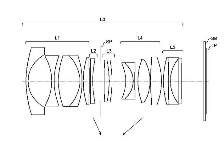
Canon RF 20mm F1.4L VCM

| Focal Length | 20.63 |
| F-Number | 1.46 |
| Angle of View | 42.73 |
| Lens Length | 112.63 |
| Back Focus Distance | 15.44 |
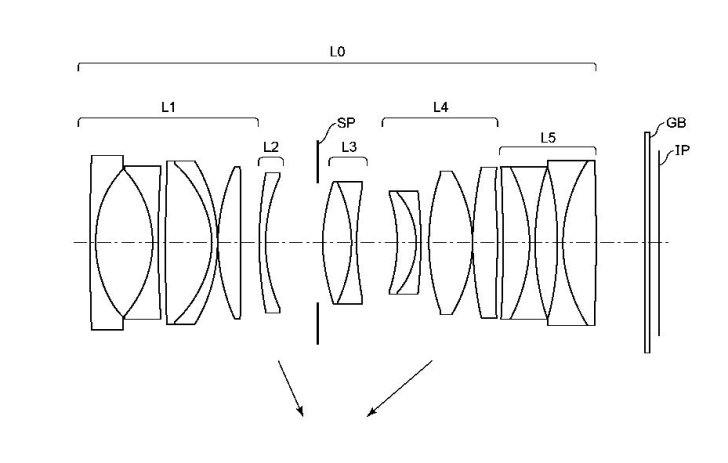
Canon RF 28mm f/1.4L VCM

| Focal Length | 28.80 |
| F-Number | 1.46 |
| Angle of View | 33.89 |
| Lens Length | 119.74 |
| Back Focus Distance | 14.63 |
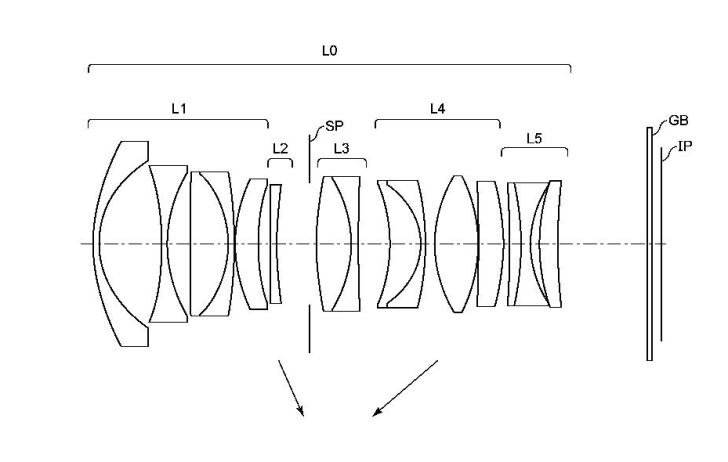
Canon 24mm f/1.4L VCM
This embodiment shows the actual production RF 24mm f/1.4L VCM lens.

| Focal Length | 24.72 |
| F-Number | 1.46 |
| Angle of View | 37.14 |
| Lens Length | 118.17 |
| Back Focus Distance | 15.18 |
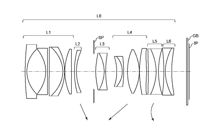
Canon RF 21mm f/1.4L VCM

| Focal Length | 21.22 |
| F-Number | 1.46 |
| Angle of View | 41.03 |
| Lens Length | 120.82 |
| Back Focus Distance | 21.77 |
Canon 28mm f/1.4L VCM

| Focal Length | 27.52 |
| F-Number | 1.46 |
| Angle of View | 34.12 |
| Lens Length | 121.21 |
| Back Focus Distance | 12.63 |
Canon 28mm f/1.4L VCM

| Focal Length | 28.79 |
| F-Number | 1.46 |
| Angle of View | 32.90 |
| Lens Length | 128.09 |
| Back Focus Distance | 13.86 |
As with all patent applications, this is a look into Canon's research. While we know this patent application did show embodiments that made it into an actual release, other embodiments may or may not make it into actual products.
Source:Japan Patent Application 2025-015010



So, please let the next announcement of 1.4 lenses be for a 28mm and a 20mm lens. *fingerscrossed
Edit: looking at the prices of the other VCM lenses here in Germany, the first try would be to rent the lens and then wait for rebates, cash back or refurb 🤣
I think he hates it because if a 28mm F1.4 comes out he has to buy it 😉
That's why I hate it, they keep doing fast 28mm optical designs and NOTHING. I take it personally.
Ahhhh, now I understand
What will come next? (Hoping for 14mm T/S and 60mm + 180mm macros!)
But it would mean spending the same amount of time selecting elements, using more precision machined brass instead of castings or plastics, measuring, testing, most done by hand.
Half the price seems a utopia.
I'd rush to the next Leica Store...
Presently I'm using the very good Zeiss 2,8/21 (EF mount).
They're clearly teasing you ! 🙂
but you probably have another reason why such a setup would not work for you?
If the focal length is shorter than 35mm, you'll get some ugly color cast on the sides of the picture. You'd need a camera like the M, of course, or an SL with Leica's decoding adapter to get clean results. Even Panasonic's S series won't work with M lenses, despite it having the same bayonet as the SL.
I've tested all my M lenses on the R and R5 II, 35mm and longer work perfectly. But 28mm and shorter, no chance!