A few more images of the Canon RF 85mm f/1.2L USM leak out ahead of this week’s announcement

Anyone have an idea what this lens might be in US dollars?

Let's compare Japanese street prices (including 8% VAT) at launch and US MSRPs:
  • Canon RF 50mm f/1.2L USM: between ¥284,310 and ¥315,900, depending on the retailer, and $2,299
  • Canon RF 28-70mm f/2L USM: between ¥367,290 and ¥408,100, depending on the retailer, and $2,999
The ¥359,100 (a street price that includes 8% VAT) reported by Nokishita Camera for the Canon RF 85mm f/1.2L USM would correspond to a US MSRP between $2,600 and $2,900.
 
Upvote 0
Things to watch:

(1). If RF 85 F1.2 L is real RF native design? Or just EF 85 F1.2 L with an extension tube?

(2). Can RF 85 F1.2 L deliver similar stellar performance as RF 50 F1.2 L does?

(3). RF 50 F1.2 L price is lower to $2099: https://www.bhphotovideo.com/c/product/1433715-REG/canon_rf_50mm_f_1_2l_usm.html

(1), first part, is very likely. The EF 85 1.2L with extension tube already exists with the extension tube being the EF to RF adapter.

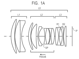
A design for a 85 mm f/1.2 lens has been published in a recent patent application:
184386
It doesn't necessarily mean that the final design will be same, but I'd be surprised to see something completely different in the RF 85 f/1.2 L. The information cited above from https://www.nokishita-camera.com/p/blog-page_29.html fits to that design: Large focus group requiring a powerful USM Motor, and likely much higher optical performance thanks to the much more complex design compared the EF lens. BR optics might be used in the rear part of the focus group.
This is the design of the EF 85 mm f/1.2 L for comparison:
184387
 
  • Like
Reactions: 1 user
Upvote 0
Sigma & Tamron are already filling those gap left from Canon, Sony, Nikon. For 1/2-2/3 the price, you can get close to similar performance or exceed it. Sigma have alot of 1.4 Art lenses.

I have no doubt Canon 85 1.2 RF will be a great lens, but it just a diminish return buying expensive lenses.
It's always been exactly just like that. As stated in an earlier post, there are other lenses which will make this RF 85/1.2L look cheap and sophisticated in comparison and yet people will buy those as well. It will be interesting to see it against a GFX+GF 110/2 lens on their higher-megapixel body, this lens is also pointing towards that.

Of course, now the gap is not between "decent" and "good", rather "very good" and "excellent" and aided by mirrorless focusing, but for the most part Canon still seems to have the edge in lens design. Yes, their RF 70-200/2.8 will be very pricey as well, but will there be anything out there that can match its size and performance? Probably not, maybe except Nikon (and it's going to match with the pricing as well)
Aftermarket manufacturers will need to raise their prices on their future mirrorless lenses as well to recoup the development costs.
 
  • Like
Reactions: 1 user
Upvote 0
It's always been exactly just like that. As stated in an earlier post, there are other lenses which will make this RF 85/1.2L look cheap and sophisticated in comparison and yet people will buy those as well. It will be interesting to see it against a GFX+GF 110/2 lens on their higher-megapixel body, this lens is also pointing towards that.

Of course, now the gap is not between "decent" and "good", rather "very good" and "excellent" and aided by mirrorless focusing, but for the most part Canon still seems to have the edge in lens design. Yes, their RF 70-200/2.8 will be very pricey as well, but will there be anything out there that can match its size and performance? Probably not, maybe except Nikon (and it's going to match with the pricing as well)
Aftermarket manufacturers will need to raise their prices on their future mirrorless lenses as well to recoup the development costs.

I don't know if aftermarket manufacture will raise their prices too much. Consider the Tamron 28-75 2.8 E mount is selling for 1/2 a price Sony GM lens and if they are planning to retrofit it to Panasonic L mount, Canon RF, Nikon Z mount, they will likely be cheaper or stay the same price. This strategy can apply to other popular focal length like 85 1.4.

If anything, this will force first party lens manufacture to increase their price due to declining sales or earn less profits.
 
  • Like
Reactions: 1 user
Upvote 0
So the blue goo wasn't just for wide angle lenses after all.

But the price though...the price lmao.
The EF 85 /1.4 IS lens isn’t a CA free lens by a long shot. I guess, the blue goo may come handy. How much was the EF 35/1.4 II at launch, just as a reference price point? Do you know?

P.S. I. Would be willing to pay around US$2400 for the 85/1.2 CA FREE/high micro contrast/ OTUS like rendition Canon RF portrait lens. Knowing full well that Canon is always Canon, they would slap another $200-300 on top of that number just to make sure that it has not been undersold to market :D
 
Last edited:
Upvote 0
  • Highest image quality among all Canon 85mm interchangeable lenses
  • Includes BR (Blue Spectrum Refractive) optics
  • Equipped with the same ring USM as the RF 50mm f/1.2L USM.
Source: https://www.nokishita-camera.com/p/blog-page_29.html
After purchasing the EF 35mm f/1.4L II with the BR (fantastic lens) I am extremely please to see BR coming out in another lens now. I was wondering where "blue goo" went. Wait! People said it was only effective on WA and UWA optics! ;)
 
Last edited:
Upvote 0
After purchasing the EF 35mm f/1.2L II with the BR (fantastic lens) I am extremely please to see BR coming out in another lens now. I was wondering where "blue goo" went. Wait! People said it was only effective on WA and UWA optics! ;)

I was considering picking up a 35/1.4L II after disappointing experiences with both the Tamron 35/1.8 and Sigma 35/1.4, but something that gives me pause (aside from the massive price increase!) is that I've heard the 35/1.4L II has worse bokeh than the mark i due to the BR. Have you found this to be the case? Anyone compared bokeh on the 2 lenses?
 
Upvote 0
I was considering picking up a 35/1.4L II after disappointing experiences with both the Tamron 35/1.8 and Sigma 35/1.4, but something that gives me pause (aside from the massive price increase!) is that I've heard the 35/1.4L II has worse bokeh than the mark i due to the BR. Have you found this to be the case? Anyone compared bokeh on the 2 lenses?
I can't speak to the Mark I. I never owned it. Close up, the bokeh is buttery. By close up I mean real close, like a flower photo. At a distance, it looks fine to me (UWA), but everyone has their preferences.
 

Attachments

  • Lauren 6 web.jpg
    Lauren 6 web.jpg
    1.1 MB · Views: 264
  • Samantha 1 web.jpg
    Samantha 1 web.jpg
    213.2 KB · Views: 274
  • Like
Reactions: 1 user
Upvote 0
(1), first part, is very likely. The EF 85 1.2L with extension tube already exists with the extension tube being the EF to RF adapter.

A design for a 85 mm f/1.2 lens has been published in a recent patent application:
View attachment 184386
It doesn't necessarily mean that the final design will be same, but I'd be surprised to see something completely different in the RF 85 f/1.2 L. The information cited above from https://www.nokishita-camera.com/p/blog-page_29.html fits to that design: Large focus group requiring a powerful USM Motor, and likely much higher optical performance thanks to the much more complex design compared the EF lens. BR optics might be used in the rear part of the focus group.
This is the design of the EF 85 mm f/1.2 L for comparison:
View attachment 184387
15 Elements for RF 85mm F1.2 L ? That is good and definitely RF native design. Good to know.
 
Upvote 0

Oh, shweppes.... I was right to a dollar. $2,450.00 In December 2019 on sale?

 
Upvote 0
Here below the optical formula (13 elements in 9 groups). レンズ means lens element, 研削非球面 means ground aspherical surface and BR光学素子 means BR optical element. UD is for Ultra-low Dispersion, ASC for Air Sphere Coating.
 

Attachments

  • Canon RF 85 mm f1,2L USM - Formule optique.jpg
    Canon RF 85 mm f1,2L USM - Formule optique.jpg
    108.2 KB · Views: 205
  • Like
Reactions: 1 users
Upvote 0
I was considering picking up a 35/1.4L II after disappointing experiences with both the Tamron 35/1.8 and Sigma 35/1.4, but something that gives me pause (aside from the massive price increase!) is that I've heard the 35/1.4L II has worse bokeh than the mark i due to the BR. Have you found this to be the case? Anyone compared bokeh on the 2 lenses?
The Mark II has smoother bokeh

 
  • Like
Reactions: 1 user
Upvote 0