When you purchase through links on our site, we may earn an affiliate commission. Here's how it works. |
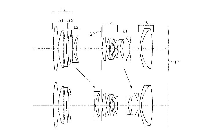
Hi-Lows-Note via Northlight Images has uncovered a patent for an RF mount macro lens. The optical formula is for an RF 90mm f/2.8L IS Macro. Northlight points out that the image stabilization group (L12) is further forward than the normal positioning for IS groups.
Japanese Patent Application No. 2017-108266 shows two different optical formulas.
Specification and lens arrangement of embodiment 3
Focal length: 86.00mm
F number: 2.87
Half angle of view: 14.12
Image height: 21.64mm
Lens length: 115.07mm
Back focus: 15.93mm
Specification and lens arrangement of embodiment 1
Focal length: 97.00mm
F number: 2.92
Half angle of view: 12.57
Image height: 21.64mm
Lens length: 115.12mm
Back focus: 20.01mm




