When you purchase through links on our site, we may earn an affiliate commission. Here's how it works. |
In this patent application (2025-028297), Canon discusses super-telephoto prime lenses with built-in teleconverters. Unlike normal teleconverters, which you add to the end of the lens and the extender attaches between the lens and the camera, these insert optical elements inside the lens itself.
This is a far more optimized solution that usually results in better optical performance with and without the teleconverter insertion.
Canon, of course, is no stranger to this, making the original Canon EF 200-400 with 1.4x internal extender that was the first super telephoto ever to have a built-in switchable extender back in 2013.
If you recall, the first Canon RF super telephoto primes for 400 and 600 mm were released in 2021. These two RF lenses were essentially EF versions with built-in adapters for RF. They featured no advanced features or improvements over the earlier EF super telephoto. Canon came out with the 800mm and 1200mm super telephoto lenses the following year.
This list specifically excludes the 300mm 2.8L, as this lens has yet to see the light of day under the RF mount.
Canon has launched three or four super telephotos at once in the past, as they usually share similarities in design and fabrication. So, this patent application, with the 300, 400, and 600mm super telephoto as embodiments, seems very interesting to me as it could be something that Canon is quite seriously considering doing.
We know these won't be cheap, but they are the halo “surprise” releases that Canon loves to do.
Canon 400mm F2.8L IS USM Extender 1.4x
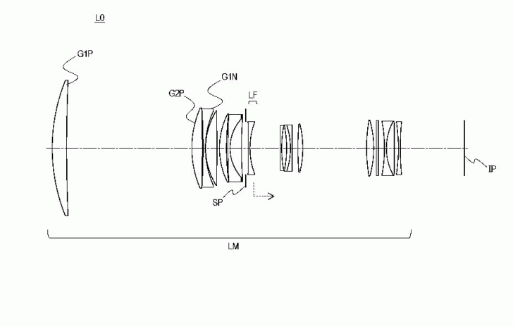
I've included the element design that animates between the inserted and removed extender. As you can see, the extender slides in after the first element group. This supertelephoto lens can flip between 400mm and 550mm using the built-in 1.4x extender. With a 51.81mm back focus distance, there is ample room to add on an additional external extender as well.

| Specification | Without Extender | With Extender |
|---|---|---|
| Focal length | 389.00 | 544.00 |
| F-number | 2.91 | 4.19 |
| Half Angle of View (°) | 3.18 | 2.28 |
| Image height | 21.64 | 21.64 |
| Lens length | 406.00 | 406.01 |
| Back Focus Distance | 53.83 | 53.83 |
Canon 600mm F4L IS USM Extender 1.4x
This next embodiment shows a 600mm F4L supertelephoto lens with a built-in 1.4x extender, giving you a 600mm and 800mm prime in one lens. I don't think your kidney would cover the purchase of this lens. This lens also shows a 81.91mm back focus distance maknig this design extremely extender friendly for even more reach.

| Specification | Without Extender | With Extender |
|---|---|---|
| Focal length | 582.00 | 814.80 |
| F-number | 4.12 | 5.88 |
| Half Angle of View (°) | 2.13 | 1.52 |
| Image height | 21.64 | 21.64 |
| Lens length | 486.10 | 486.10 |
| Back Focus Distance | 81.91 | 81.91 |
Canon 300mm F2.8L IS USM Extender 1.4x
This embodiment shows a 300mm F2.8 supertelephoto lens with a built in extender giving you a 300mm and 400mm in one lens. As with the other embodiments, with a 49.68mm back focus distance, you'd be able to add on external extenders to get an even longer focal length.

| Specification | Without Extender | With Extender |
|---|---|---|
| Focal length | 300.00 | 420.00 |
| F-number | 2.91 | 4.12 |
| Half Angle of View (°) | 4.12 | 2.95 |
| Image height | 21.64 | 21.64 |
| Lens length | 320.00 | 320.00 |
| Back Focus Distance | 49.68 | 49.68 |
This is a patent application only
As with all patent applications that we discover and write up for you, this is simply a look into Canon's research. Canon may or may not make these lenses for a variety of reasons that are well beyond our paygrade.
Japan Patent Application 2025-028297



No 500 again. 😉
600 f/4 with built in TC
200-500 f/4, maybe with a built in TC
All of these are very interesting. I suspect one of them will end up in my bag. But, Canon, I can't give you money for something you have not yet released.
Decisions.
There was another patent for a 1.4x-2x extender that was actually for an extender, basically a 1.4x with optics for a second 1.4x the flip out of the way (in two groups). That one could be a real product.
I have since upgraded to the R5m2 and the af moves as fast as the full bodies (R1, R3). So a great upgrade from the original R5, for wildlife the biggest improvement is tracking with the R5m2 over the original. BIF are a breeze now. The original was definitely not using the full potential of the RF600.
I have many perched birds in very low, late light, at 1/60 of a second with the IS + IBIS on a monopod and surprised at the hit rate I get for sharpness. This lens always amazes me.