roby17269
R5, X2D II 100c, DJI Mavic 4 Pro & Mini 5 Pro
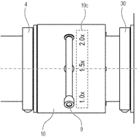
The 2x has a non-trivial impact on image quality, so maybe the 100-300 + 2x would deliver less IQ than a 300-600 naked? and obviously you could use the 2x on the 300-600 to get a 600-1200 f11... If extenders were a free lunch, so to speak, a complete lens system would require less lenses.I didn´t even think about that. Now, the lens makes even less sense to me. Hmmm, with the 2x extender one gets a lot wider and is more flexible. And if the ominous new extender are really coming, it could even take away the hassle of taking of/ putting on the extender to switch the focal length.
But the fabled extender would likely be a 1.4x-2x, not a 1x-somethingX. You cannot not affect the focal length if you add glass and distance between a lens' back element and the camera mount. And I'd be surprised if a more complex extender would not have a worse impact on IQ compared to the current ones
Upvote
0

