When you purchase through links on our site, we may earn an affiliate commission. Here’s how it works. |
In this patent application (2025-149754) we see some interesting primes that Canon is applying for a patent. Now while it’s unusual to see a patent application before the lens is released, it does happen. As well, with this year being a hot mess in terms of planning it could be that alot of things were waiting until after August so that Canon and also it’s suppliers know what is up in terms of the supply chains.
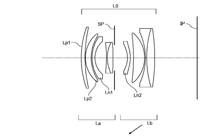
Since we have heard that a Canon RF 45mm F1.2 STM is coming out soon, and there’s one in this patent application, there’s a high degree of certainty that if this isn’t the actual patent application, it was one of the competing ones.
Canon RF 45mm F1.2
Yes, I know that the patent actually states 48mm, but it would not be the first time that Canon has been a little fast and loose with focal lengths.
This lens is quite bulky in terms of its glass; there appears to be a lot that needs to move for focus. If this is an STM lens, I don’t think it will be a quick-to-focus lens, but if it’s a USM or VCM lens, it should be just fine. It’s also very small for a f/1.2 – around 65mm in lens length.
| Focal length | 48.60 |
| F-number | 1.24 |
| Half angle of view | 24.00 |
| Image height | 21.64 |
| Total lens length | 85.76 |
| Back focus distance | 24.00 |
Canon RF 35mm F1.8
This is another interesting design. But with Canon already having a Canon RF 35mm F1.8 IS STM Macro I doubt this lens will see the light of day. But if Canon wanted to make a “true” Canon RF 35mm F1.8, which would be a lot smaller, then this would be the way to go about it. This lens could be especially useful if Canon wants to make good “dual use” lenses for APS-C and full frame, as this would be a decent lens for APS-C (56mm) and also still useable on full frame as a 35mm prime.
| Focal length | 35.00 |
| F-number | 1.84 |
| Half angle of view | 31.72 |
| Image height | 21.64 |
| Total lens length | 60.67 |
| Back focus distance | 22.20 |
Canon RF 70mm F1.8
Canon has never done a 70mm prime lens before but there has at least been a 70mm F2.8 Macro before, so it’s not uncommon. Of course, this on an APS-C camera would end up having a crop factor taking it to around 110mm, which is a common potraiture focal length. This lens isn’t as small as the 35mm, however that stands to reason as it doubles the focal length.

| Focal length | 68.78 |
| F-number | 1.85 |
| Half angle of view | 17.46 |
| Image height | 21.64 |
| Total lens length | 115.82 |
| Back focus distance | 34.05 |
Closing Thoughts
Many of these embodiments would be interesting, but as with anything, it’s the devil in the details and how Canon would market such lenses would determine if they are released or not.
Just a Reminder!
With all patents and patent applications, I have to stress constantly – this is simply a look into Canon’s research; the only thing we can quantify accurately is that Canon is researching this. A patent application doesn’t mean they are going to release this in the next month, or even year, or even at all.





So I wouldn't expect magical resolution numbers from them.
But we know the magic such lenses might have...
I hope that the AF motor is fast enough... 🤔
And, @Richard CR, don't you think that 48.6 mm is closer to 50 mm than to 45?
Could also be named 50/1.2, couldn't it? (apart from the rumored name)
By the way, could these be plastic moulded elements? Such material would certainly be a lot lighter
Canon can go on either side of a reported focal length.
If this design is a related patent to the final product, there could be a technical reason that they market it as 45mm. I could see confusion simply having a 50 1.2 and 1.4 already in the lineup for much more money than this will cost.
As for abberation correction with this few elements, they definitely would have to make tradeoffs. Just as I predicted, it lean toward a little residual SA, which can be desirable for bokeh and oof background. Distortion is sacrificed, CA is lower than the EF but still present. Overall I think they made good choices
It would sell like hot cakes if they price it right.
Let's keep fingers crossed for the price...
This looks considerably more complex than a double Gauss design. (Gauss was a person, thus the capitalization of a proper noun. Double is not.)
Here's the EF 50mm f/1.8 STM with a classic double Gauss design:
For more about what makes a lens a double Gauss, please see Roger Cicala's excellent article:
Why are modern 50mm lenses so damned complicated?
And about the propper notation:
Start complaining at wikipedia first:
Double-Gauss lens - Wikipedia
Double-Gauss
Double Gauss
double Gauss
And you'll find there numerous lens designs all claimed to be Double-Gauss (or Double Gauss, or double Gauss).
So if you'd ask me about consideration, this RF 45 could be closer to a Taylor&Hobson.
And "your" reference of the EF 50mm f/1.8 STM has two elements more than than the "classic Double-Gauss" (or Double Gauss, or double Gauss).
So it's an evolution as well, closer to a "Zeiss Planar" design.
In the end:
If you'd use German it would have been even better and more precise:
Gaußsches Doppelobjektiv
Gaußsches Doppelobjektiv – Wikipedia
(as this German person Carl Friedrich Gauß is correctly spelled with a German "ß", called "Eszett" or "scharfes S", but in the past as well with an "ss", so welcome to maximum confusion).
Enough "know-it-all"?
And in the end th inventor of the Double-Gauss design (or Double Gauss, or double Gauss) was Alvan Clark, acording to wikipedia. Is he a relative of yours? 😉
Since when is Wikipedia an authoritative source for anything? It's crowd sourced. It's not peer reviewed.