When you purchase through links on our site, we may earn an affiliate commission. Here's how it works. |
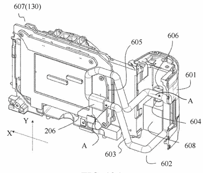
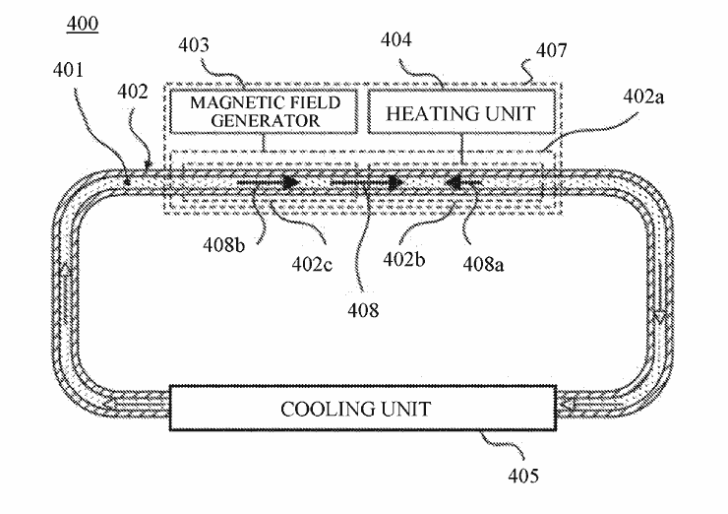
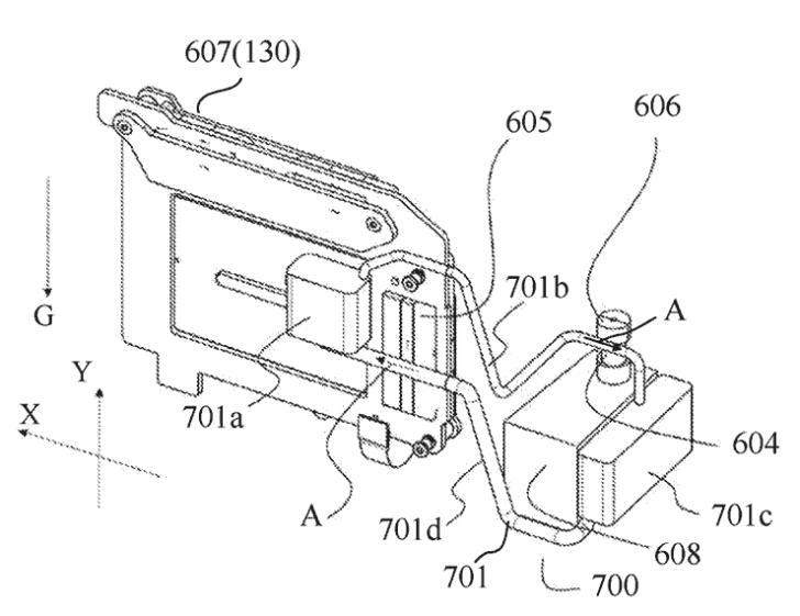
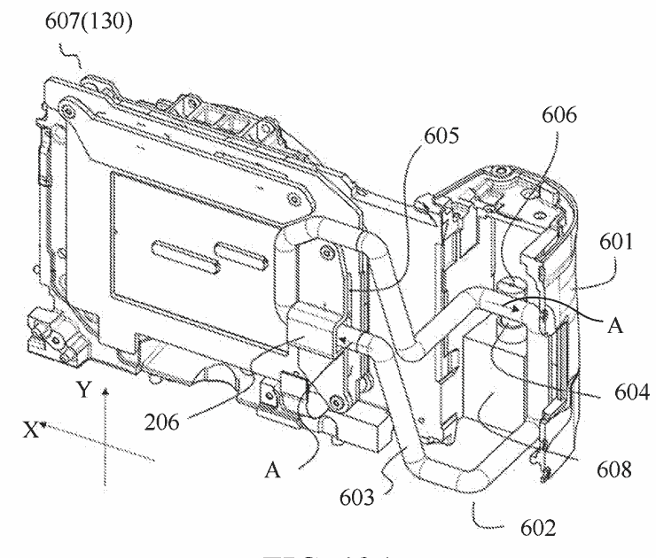
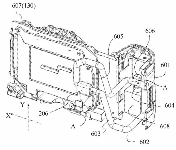
Keith over at Northlight Images uncovered a pretty cool patent pertaining to cooling of camera bodies. A lot has been discussed about this topic over the last couple of years.
This patent shows Canon using magnets to pump the liquid through the cooling tubes, which I would think, would make this type of active cooling silient, unlike internal cooling fans. This would also do a much better job of bringing the internal temperatures down that simply using copper heatsinks.
Cooling of camera bodies is going to be an area a lot of resources are going to be poured into we think. Especially with consumer 8K, high-resolution and high-speed cameras becoming more common, and they're only going to get faster and more capable in the future.





