Canon EOS R5 Mark II to arrive before EOS R1? [CR2]

I'd say my frequency of crashes is higher than I remember it being on my old 2013 MBP, but again, this is anecdotal so take it with a grain of salt. I find that if I've been editing a lot and then come to a pretty big file, the odds of a crash go up a fair bit. I'm pretty sure it's just running out of memory and needs a restart. I've had notices that I'm out of memory and need to close things several times, and other times I get no notice and it just freezes up. I've had this happen at least 5 times in a two week period where I was editing a lot. Again, for all I know, I may have a setting switched over in PS 2023 which is letting it run of runway or building up the cache way too much.

Another common problem has been sometimes photoshop doesn't like the dedicated graphics processor settings - I open an image and there's nothing in there - like photoshop thinks its open, but there is no image, no nothing. I end up having to turn off the "use dedicated graphics processor" setting under performance, closing the file, reopening (which seems to bring back the image but hamper performance by a fair bit), and then changing the setting to turn the graphics processor back on, and then reopening again. After that, it almost always works like new again.

Both are nuances which are annoying, but not deal breakers. The performance of the machine when it's working well far outweigh these issues.
If I was in your position I may want to reinstall Photoshop 2023 and its plugins.

BTW I envy you for holding out from 2013 for any Apple Silicon Mac. That's one thing I wish I did with my 2011 MBP 13" 32nm to your 2021 MBP 16" M1 Pro 5nm!
 
Upvote 0
I'd say my frequency of crashes is higher than I remember it being on my old 2013 MBP, but again, this is anecdotal so take it with a grain of salt. I find that if I've been editing a lot and then come to a pretty big file, the odds of a crash go up a fair bit. I'm pretty sure it's just running out of memory and needs a restart. I've had notices that I'm out of memory and need to close things several times, and other times I get no notice and it just freezes up. I've had this happen at least 5 times in a two week period where I was editing a lot. Again, for all I know, I may have a setting switched over in PS 2023 which is letting it run of runway or building up the cache way too much.

Another common problem has been sometimes photoshop doesn't like the dedicated graphics processor settings - I open an image and there's nothing in there - like photoshop thinks its open, but there is no image, no nothing. I end up having to turn off the "use dedicated graphics processor" setting under performance, closing the file, reopening (which seems to bring back the image but hamper performance by a fair bit), and then changing the setting to turn the graphics processor back on, and then reopening again. After that, it almost always works like new again.

Both are nuances which are annoying, but not deal breakers. The performance of the machine when it's working well far outweigh these issues.
FWIW, I have not noticed any issues with PS 2023 and large files (scientific images, typically in the 4-6 GB range) on my work Mac, a 16" M1 Pro with 16 GB memory.
 
Upvote 0
BTW I envy you for holding out from 2013 for any Apple Silicon Mac. That's one thing I wish I did with my 2011 MBP 13" 32nm to your 2021 MBP 16" M1 Pro 5nm!
For my personal Mac, I went from a 2010 17" MBP to a 2019 16" Intel i9, and as mentioned I also have a 16" M1 Pro for work (the 2010 17" still works, my son uses it now). Honestly, in routine tasks I don't notice any difference between the Intel i9 and the M1 Pro. It's only on very intensive tasks (large RAW batch exports, video transcodes) that the M1 Pro gives a noticeable performance boost. Since those are tasks that I can queue and let the Mac crank away on while I'm not sitting in front of it, the difference doesn't really matter for my uses.
 
Upvote 0
I'd say my frequency of crashes is higher than I remember it being on my old 2013 MBP, but again, this is anecdotal so take it with a grain of salt. I find that if I've been editing a lot and then come to a pretty big file, the odds of a crash go up a fair bit. I'm pretty sure it's just running out of memory and needs a restart. I've had notices that I'm out of memory and need to close things several times, and other times I get no notice and it just freezes up. I've had this happen at least 5 times in a two week period where I was editing a lot. Again, for all I know, I may have a setting switched over in PS 2023 which is letting it run of runway or building up the cache way too much.

Another common problem has been sometimes photoshop doesn't like the dedicated graphics processor settings - I open an image and there's nothing in there - like photoshop thinks its open, but there is no image, no nothing. I end up having to turn off the "use dedicated graphics processor" setting under performance, closing the file, reopening (which seems to bring back the image but hamper performance by a fair bit), and then changing the setting to turn the graphics processor back on, and then reopening again. After that, it almost always works like new again.

Both are nuances which are annoying, but not deal breakers. The performance of the machine when it's working well far outweigh these issues.
I haven't seen any of these issues with mine. LR isn't great (stuttering etc) with larger 4k video where I do basic edits there. I use it for cataloging mostly. iMovie has no issues. No issues with PS either.
I have a M1 Max + 32GB memory version though. 64GB memory pricing was outrageous and the reviews couldn't find use cases for it.
I would have preferred the 2TB version but the 1TB was off the shelf and the leadtime (at the time) was long for the 2TB version.
 
Upvote 0
If I was in your position I may want to reinstall Photoshop 2023 and its plugins.

BTW I envy you for holding out from 2013 for any Apple Silicon Mac. That's one thing I wish I did with my 2011 MBP 13" 32nm to your 2021 MBP 16" M1 Pro 5nm!
Honestly I didn't really think waiting so long was a real issue! The 2013 MBP was just humming along without any issue until maybe a year before the upgrade when it started to show its age a bit more in editing. I recycled it into my wife's daily driver and it's been perfect for her needs. And I really wanted the HDMI/SD card reader/magsafe so I in the end, those were the biggest drivers for the upgrade anyway.
 
  • Like
Reactions: 1 user
Upvote 0
I haven't seen any of these issues with mine. LR isn't great (stuttering etc) with larger 4k video where I do basic edits there. I use it for cataloging mostly. iMovie has no issues. No issues with PS either.
I have a M1 Max + 32GB memory version though. 64GB memory pricing was outrageous and the reviews couldn't find use cases for it.
I would have preferred the 2TB version but the 1TB was off the shelf and the leadtime (at the time) was long for the 2TB version.
I have the M1 max (but with the 24GPU) with 32GB ram and 2TB, so I would have expected similar performance. I don't think I've transitioned to Ventura so that could be it, though the performance setting issue with images not opening has existed since day 1. I felt the same on 64 GB, but after running out of memory while editing and losing a couple hours of work, let me tell you, I reconsidered my opinion haha. Truth be told, I'm not sure it would have saved me though. I just need a clean restart more frequently I think.
 
Upvote 0
@amorse

You may want to reinstall the whole OS.

I think it can do that without erasing your data, but of course you should back up first, just in case.
Yeah I likely need an update as well, so I'll have some work to do in tracking down the issue. For now a restart seems to solve it, but that's little comfort after a crash with some lost edits. Thanks
 
Upvote 0
Honestly I didn't really think waiting so long was a real issue! The 2013 MBP was just humming along without any issue until maybe a year before the upgrade when it started to show its age a bit more in editing. I recycled it into my wife's daily driver and it's been perfect for her needs. And I really wanted the HDMI/SD card reader/magsafe so I in the end, those were the biggest drivers for the upgrade anyway.
Imagine... built-in HDMI and MagSafe drove the purchase.

Take that Jony Ive! Your obsession with thiness and USB-C only ports drove people batty!
 
  • Like
Reactions: 2 users
Upvote 0
To reduce SKUs to increase economies of scale I'd have wanted Canon to do

- 400/2.8 with built-in 1.4x & 2.0x
- 600/4.0 with built-in 1.4x & 2.0x

So no more

- 500/4.0
- 800/5.6
- 1200/8.0
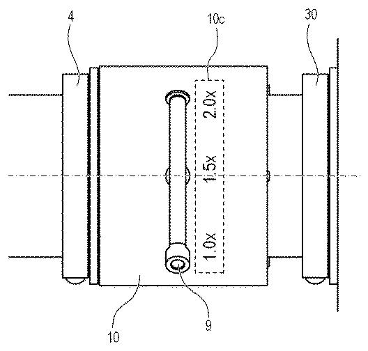
BTW Canon has a patent for a teleconverter that goes from 1.0x to 1.5x to 2.0x
That would make up for lenses that do not have a teleconverter built-in.
 
Upvote 0
BTW Canon has a patent for a teleconverter that goes from 1.0x to 1.5x to 2.0x
That would make up for lenses that do not have a teleconverter built-in.
Having used a 200-400mm I love built-in TC. Nikon having them in the 400 & 600 makes me think they're more innovative.

If it is possible to have a built in 1.4x & 2.0x would make life so much easier without resorting to a zoom like that ungainly Sigma 300-800mm
 
Upvote 0
BTW Canon has a patent for a teleconverter that goes from 1.0x to 1.5x to 2.0x
That would make up for lenses that do not have a teleconverter built-in.
The patent of the "zoomable teleconverter" sounds great. My dream would be a TC which gives you three choices:
turned off - 0x regular focal length of the lens used
Option 1 - 1.4x TC
Option 2 - 2x TC

Oh, and of course fully compatible with the RF100-500mm and the 70-200mm´s :ROFLMAO:
But, as I said: "dream" :)

More realistically speaking: the features with digital TC´s such as in the R6mkii and rumored R5mkii will at some point greatly reduced the need for physical TC´s. We're not quite there yet (as from what I read about the feature) but we're on the way.
 
Upvote 0
Stupid question: I keep shoot with my R5 using my RF lenses using the stabilization on all the time (unless I use a tripod). Is the stabilization affecting for example the dynamic range? Is the stabilization, physically or technically speaking reducing the quality? I think no and should just avoid vibration during long time exposure., I am correct?
TIA.
 
Upvote 0
Stupid question: I keep shoot with my R5 using my RF lenses using the stabilization on all the time (unless I use a tripod). Is the stabilization affecting for example the dynamic range? Is the stabilization, physically or technically speaking reducing the quality? I think no and should just avoid vibration during long time exposure., I am correct?
TIA.
Correct.
 
Upvote 0
Congratulations! Consider paid lessons on how to use it if we or YouTube cannot help you.
Appreciated Dolina. I am from Italy and for some reasons as I do mostly astrology, star trail and mile way, most of people that I join on travel workshops in North of Europe for this kind of photography is using Sony...., few Nikon and basically zero Canon....:-( I will try to find a Canon expert soon. I must!
 
  • Like
Reactions: 1 user
Upvote 0
Stupid question: I keep shoot with my R5 using my RF lenses using the stabilization on all the time (unless I use a tripod). Is the stabilization affecting for example the dynamic range? Is the stabilization, physically or technically speaking reducing the quality? I think no and should just avoid vibration during long time exposure., I am correct?
TIA.
Stabilization should not negatively alter dynamic range.
It can increase it by allowing you to keep your ISO low.
It should also make it easier to get sharp images.
 
Upvote 0
Stabilization should not negatively alter dynamic range.
It can increase it by allowing you to keep your ISO low.
It should also make it easier to get sharp images.
There have been cases where IBIS negatively interacted with the rolling shutter, but that’s mainly when handholding long lenses and using ES. You can spot it when quickly browsing through a burst, portions on the picture will distort. The good news is that it’s hard to spot in a single frame :)
 
  • Like
Reactions: 1 users
Upvote 0
Stupid question: I keep shoot with my R5 using my RF lenses using the stabilization on all the time (unless I use a tripod). Is the stabilization affecting for example the dynamic range? Is the stabilization, physically or technically speaking reducing the quality? I think no and should just avoid vibration during long time exposure., I am correct?
TIA.
I haven't seen anything formally in the user guide/features list but Canon seems to be able to switch off IBIS/IS by detecting that it is on a tripod somehow.

That said, I recall shooting panoramas of the milky way on 14mm/2.8 and 8-15mm/4 where it was quite windy and I didn't manually turn off IS. The camera nailed the focus even with 30 second exposures.

Use a manual shutter release or 2 or 10 second timer delay if pressing the shutter button. Using electronic shutter will remove any possible shutter shock but dynamic range become 12 bit rather than 14 bit. I tend to use mechanical shutter at all times now except for outdoor (no banding issues) fast action.
 
Upvote 0
I haven't seen anything formally in the user guide/features list but Canon seems to be able to switch off IBIS/IS by detecting that it is on a tripod somehow.
Most IS lenses have tripod detection. I presume the body does as well, for IBIS, but I don't recall reading that anywhere. I know the 'great white' supertele lenses have a tripod IS mode that is intended to specifically dampen shutter shock.

Use a manual shutter release or 2 or 10 second timer delay if pressing the shutter button. Using electronic shutter will remove any possible shutter shock but dynamic range become 12 bit rather than 14 bit. I tend to use mechanical shutter at all times now except for outdoor (no banding issues) fast action.
That's one reason I like the R3, there is no bit depth penalty for using electronic shutter.
 
Upvote 0
Cameras are like phones now. You aren't meant to consecutively upgrade every time a new model comes out, or a new mark of the model you currently have. I probably won't be looking at another camera body until a "R5 Mk. III or IV". They'll be conservative improvements and customers will leap frog around as it makes sense. Which I like.
(y)
Still happily using the 5D IV.
 
  • Like
Reactions: 2 users
Upvote 0